Штирьовий апаратний затискач АШМ призначений для приєднання проводів до мідного виведення апарату або трансформатора.
Затискач штирьовий АШМ дозволяє здійснити приєднання до мідного різьбового штиря як мідних проводів (за допомогою затискачів А2М), так і алюмінієвих та сталеалюмінієвих проводів за допомогою затискачів А2А.
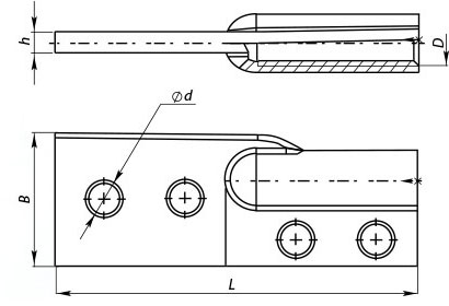
Затискач АШМ складається з корпусу з лапкою, отвір в корпусі виконано по діаметру штиря, що приєднується. Циліндричний кінець корпусу затискача АШМ має шість поздовжніх щілин, що дозволяють стягувати корпус затискача на штирі за допомогою алюмінієвих хомутів та болтів. Корпус затискача виготовлений із латуні.

| Марка | d | B | H | Вага, кг |
| АШМ-12-1 | М12 | 85 | 61 | 1,23 |
| АШМ-16-1 | М16 | 87 | 63 | 1,22 |
| АШМ-20-1 | М20 | 89 | 65 | 1,27 |
| АШМ-27-1 | М27 | 98 | 74 | 1,64 |
Також наше підприємство виготовляє мідні штирьові апаратні затискачі аналог АШМ.
Виготовлені із міді марки М1.


| Марка | d | L, мм | d, мм | B, мм | h, мм |
| АШМ-12-1 | М12х2 | 135 | 11 | 50 | 8 |
| АШМ-16-1 | М16х2 | 135 | 11 | 50 | 8 |
| АШМ-20-1 | М20х2,5 | 150 | 11 | 55 | 8 |
| АШМ-27-1 | М27х1,5 | 160 | 11 | 67 | 10 |
| АШМ-30-1 | М30х2 | 160 | 11 | 67 | 10 |
| АШМ 33-1 | М33х2 | 200 | 13 | 78 | 14 |